
大约在一年多前,SAR突然发布了一则关于索尼传感器位移对焦相机的传闻,尽管之后关于这款相机的消息不了了之,但始终让人有些难忘。
传感器位移对焦,即是让相机传感器沿光轴方向移动,改变法兰距,从而实现自动对焦。这并不是什么新技术,康泰时早在胶片时代就已将其应用到CONTAX AX身上。理论上,只要是镜头就能在该机身上实现自动对焦功能。万能自动机身也非天方夜谭。

康泰时CONTAX AX内机身移动对焦原理
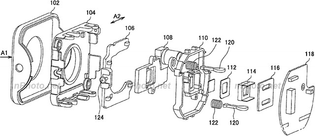
近日SonyAlphaForum有网友发现了索尼一份关于如何实现传感器在Z轴方向移动的机械结构专利,美国公开专利号No.8866965。该专利将传感器与防抖模块制成一个独立模块。通过单独移动这个模块可实现防抖和自动对焦双重功能,解决了CONTAX AX体积过大问题,并降低了对焦马达负担。
由于该专利的结构设计非常完善,已不再是常见的理论专利,有理由相信索尼内部已有试制品出现。

No.8866965号专利

No.8866965号专利

No.8866965号专利
via:SAR